睿唯责任成本系统软件简介
RV Responsibility cost and quantity account management system
一、开发目标
1、快速编制项目责任成本(跨行业的通用责任成本预算软件)。
2、实时监控项目的各种产值及成本情况,含对上产值、责任成本、劳务费用、对下计价、材料节超、实际成本等。
3、含完整的对下验工计价功能模块。(可自动归集对下验工计价工程量)
4、能自动生成各种产值、成本、盈亏、材料节超等的统计图,统计图要求直观明了,并支持大屏幕展示,便于各级人员随时了解项目进展情况。
二、软件要求
1、品质:最终的成品软件要求专业准确、操作简单、直观明了、使用方便,并能显著提升工作效率。
2、服务:专人服务,响应及时,服务人员要具备一定的工程行业专业知识,并具备良好的沟通能力。
三、包含的子系统
1、责任成本核算系统。
在对上合同清单的基础上(可根据需要进行再次细化扩展),采用劳务价+主材+其他管理费的方式进行责任成本核算,可分析成本、利润及主材用量等,支持跨行业使用。
2、工程量台账管理系统。
以责任成本清单为基础,根据实际施工完成的工程量,自动扩展统计与该工程量相关的一切费用如对上产值、责任成本,劳务费用、明细材料等,并可实时展示工程项目的成本、进度、材料节超、项目盈亏及产值情况。
3、综合统计
全公司范围内重点工程的产值、进度、盈亏等的实时综合统计。
四、主要功能简要说明
1、系统基础数据库
1)劳务指导价。包含劳务指导价的搜索、查询、增删、维护等。劳务价中内置了配套的主材代号及其消耗系数,便于快速编制责任预算。(先期可以从公司发布的Excel劳务指导价导入维护)
2)材料库。植入了现行铁路、公路材料库,并根据实际需要,划分了各种常用材料类别,便于快速使用。
2、责任成本核算(跨行业的通用责任成本预算编制)
1)支持各工程行业如铁路、公路、以及其他建筑规范(如城轨)的excel工程量清单。导入后的清单,可根据实际管理需要,进行进一步细化扩展。
2)责任成本支持:劳务费、主要材料费、周转材料费、机械费、设备费、运输费、拌合费、试验费、临时设施费、保险费、附加税、管理费、其他费等,其中劳务费是以劳务指导价为基础,进行必要调整后的劳务分包费用。
3)支持各种复制、粘贴等基本操作:

4)快速定位常用材料:

5)搜索功能。
6)各分部分项及总体的明细成本统计分析。
7)重点主材如钢材(钢轨)、混凝土等的详细分析统计。
8)责任成本及预期利润计算分析等。
9)主要操作界面截图示例:

3、工程量台账管理
1)劳务合同:各劳务队伍的合同工程量清单管理。
劳务合同工程量清单在责任预算的基础手进行勾选,其劳务分包价按实际合同谈判等情况进行录入,并可与责任预算中的劳务分包费用进行比对。实际劳务分包价大于责任预算的劳务价时,按红色进行警示提醒:

劳务合同清单是后期统计实际劳务成本的重要依据,也是后期自动生成对下计价的基础数据,并可为公司后期修订劳务指导价提供实际数据支持。
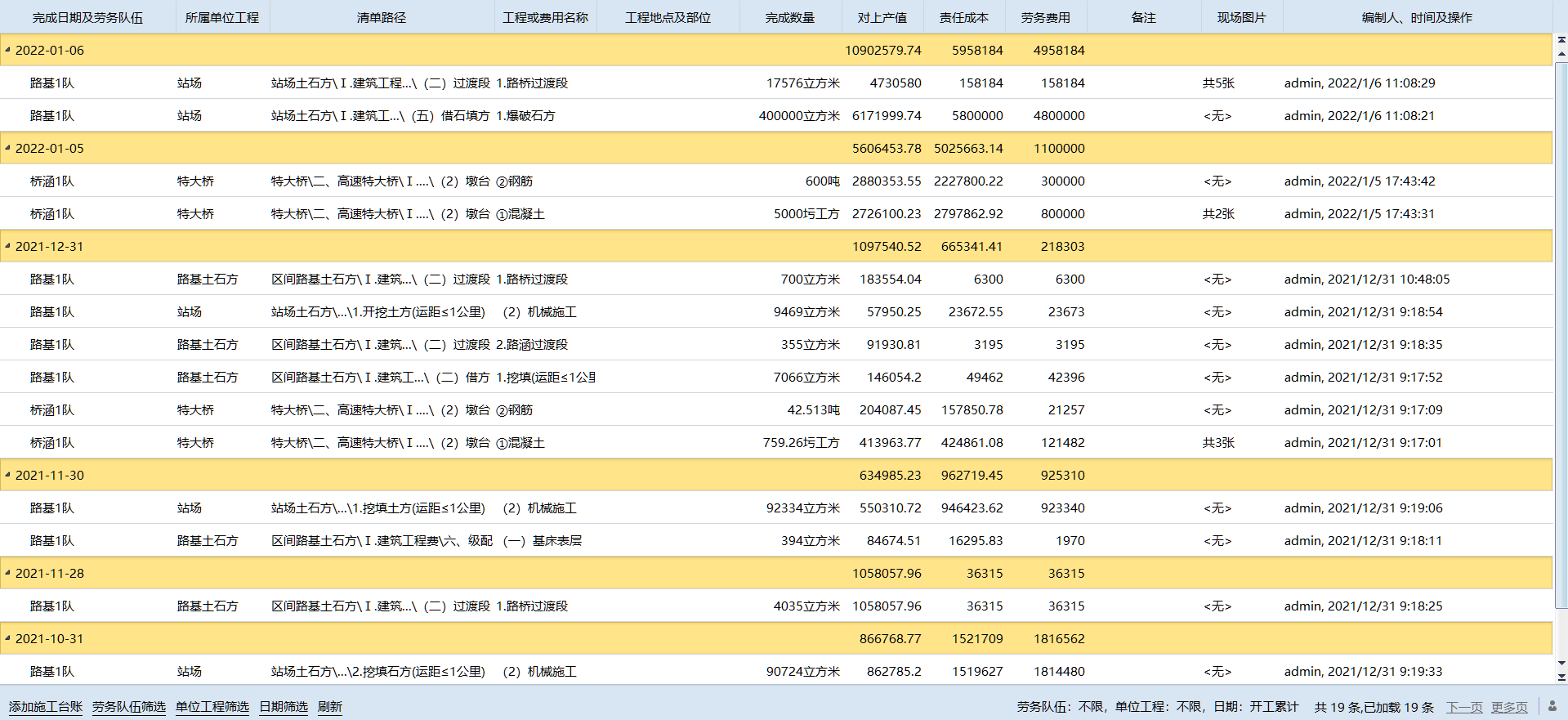
2)施工台账

施工台账是可以按任意时间段的来统计各种主要产值、进度和成本等的核心数据。
添加施工台账时,只需按实际施工情况,在责任预算工程量清单中,勾选或输入劳务队伍的完成数量即可。系统会根据该工程数量,自动计算对应的所有产值、成本、材料消耗等所有数据,并存放在后台数据库中,供各种产值及成本等分析统计使用。
3)材料调拨

材料调拨用于各劳务队伍的实际领用材料综合管理。各种材料节超等,都按照劳务队伍实际领用的材料数量与责任预算的理论材料用量来进行统计统计分析。
4)对下计价
对下计价可由施工台账数据自动提取后生成,避免做重复工作。具体操作时,只需点击“从施工台账中提取未计价工程量”按钮,即可迅速完成对下计价工作:



对下验工计价支持对合同清单之外的一些其他费用,比如扣款、奖金等的自由编辑,并自动纳入到项目实际成本的统计中。
5)费用台账
费用台账也是按责任预算中的其他管理费模板来录入统计的。各种费用建议按一笔总价直接录入,便于操作且不会额外增加过多的录入工作量。
费用台账(如项目人员总体工资等)仅作为分析项目实际成本使用,可根据实际管理情况,来决定是否需要进行费用台账的维护。
6)图表分析
各种产值、成本(责任成本和实际成本)、材料节超等的综合统计,可指定任意工程范围及日期范围等,如下图:

下图为某测试项目开工累计的“项目综合成本及产值分类统计图”示例截图:

如上图,统计内容包含项目的对上产值、税金、责任成本、实际成本、项目盈亏等各种数据,图形样式默认为柱状图,其他样式如曲线图、面积图等,可以按需选择。 此外,系统还支持各种图表的自动刷新统计,目前可定义的最小时间间隔为一小时,已基本能满足对项目的各种产值及成本等进行实时监控的要求了。
其他各种统计图,如材料节超、对下计价等,可自由选择进行统计。更明细的各种数据的统计和分析,可在后期的软件维护中,根据项目实际统计需要,进行添加维护等。
下表为目前初始版本中已经完成的统计功能:
序号 | 图表名称 | 图表说明 |
1 | 项目综合成本及产值分类统计图 | 按指定的时间范围,统计对上产值、责任成本、劳务费用、材料费,以及其他费用、计划利润、实际利润等 |
2 | 项目综合产值统计图 | 统计对上产值、责任成本、劳务费用、实际成本的开累、本年、本季、本月完成情况 |
3 | 单位工程综合产值统计图 | 根据指定时间范围,对各工程实体单位工程对上产值、责任成本、劳务费用进行汇总统计 |
4 | 单位工程完成情况汇总统计表 | 按工程实体单位工程分析任意时段范围的工程完成情况 |
5 | 单位工程完成情况明细统计表 | 统计各工程实体单位工程清单的明细完成情况 |
6 | 劳务队伍完成情况汇总统计表 | 按劳务队伍分析任意时段范围的完成情况 |
7 | 劳务队伍完成情况明细统计表 | 统计劳务队伍合同工程量清单的明细完成情况 |
8 | 项目材料节超汇总统计表 | 按指定单位工程或劳务队伍,进行材料总体节超汇总统计 |
9 | 劳务队伍材料节超汇总统计表 | 按劳务队伍统计材料节超汇总 |
10 | 已完工程超耗材料统计图 | |
11 | 已完工程结余材料统计图 | |
12 | 重点工程施工进度统计表 | |
13 | 项目产值分月统计图 | 按选定单位工程逐月统计对上产值完成情况 |
4、综合统计
综合统计模块主要用于对全公司范围的重点项目进行分析统计,包括产值、进度、成本等的实时监控,已完成的统计图如下:

下图为“重点项目的盈亏统计图”示例:

其中的图形样式和自动刷新时间间隔,也是可以自由选择的。
下图为面积图样式的各项目材料节超统计图示例:

五、其他说明
目前仅完成软件初始版本的开发,诸多细节问题留待进一步沟通确认。